工商营业执照代办理优化案例
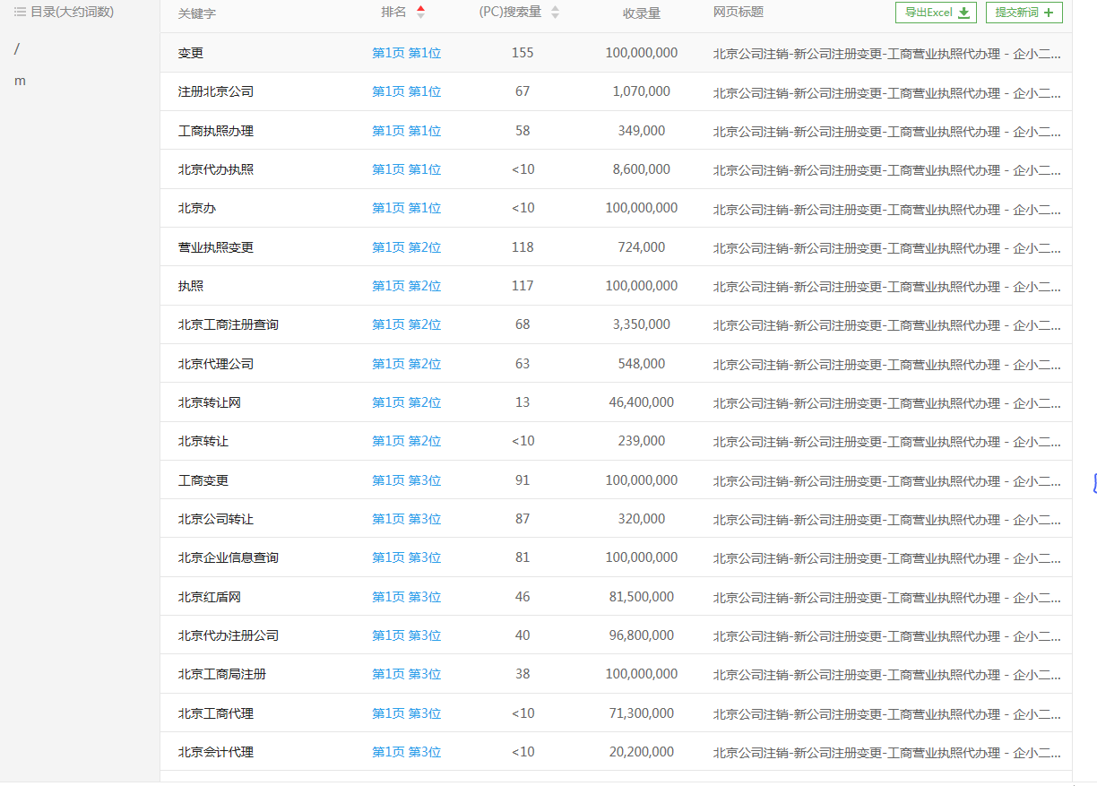
标题:北京公司注销-新公司注册变更-工商营业执照代办理 - 企小二代理记账
关键词:北京代办执照,北京代理记账,北京公司变更,北京公司注册,北京公司注销,北京办营业执照,北京工商注册,北京注册公司
描述:企小二(北京)企业服务有限公司专注北京周边地区新公司注册、代理记账、公司注销、公司变更、工商代办、营业执照代办理等服务,企小二作为政府授权,天使轮投资为企业提供高新企业认定、商标注册等一站式企业服务!


工商营业执照代办理优化案例
工商营业执照代办理优化案例
标题:北京公司注销-新公司注册变更-工商营业执照代办理 - 企小二代理记账
关键词:北京代办执照,北京代理记账,北京公司变更,北京公司注册,北京公司注销,北京办营业执照,北京工商注册,北京注册公司
描述:企小二(北京)企业服务有限公司专注北京周边地区新公司注册、代理记账、公司注销、公司变更、工商代办、营业执照代办理等服务,企小二作为政府授权,天使轮投资为企业提供高新企业认定、商标注册等一站式企业服务!


工商营业执照代办理优化案例
资深SEO专家 | 20年行业经验
AI将彻底重构SEO的底层逻辑,搜索不再是 "关键词匹配" 的算法,而是 "用户意图理解" 的竞争。以 Google MUM、百度文心一言为代表的大模型,正在让搜索引擎具备跨模态、跨领域的深度语义分析能力。这意味着,AISEO的核心将从 "优化页面" 转向 "构建能被AI识别的价值生态"。
AI模型专家 | 23年行业经验
AI不会取代SEOer,但 "不会用 AI的SEOer"会被取代。未来的 AI SEO 从业者,核心能力将从 "执行优化" 转向 "AI策略指挥"。用AI数据分析工具快速定位用户搜索痛点;判断哪些领域适合AI批量布局,哪些领域需要人工深耕建立壁垒,本质上是通过AI的策略能力,而非被AI工具牵着走。
AI运营专家 | 18年行业经验
AI应用的趋势是:"通用大模型+行业知识库+场景调优"成标配。工业实现全流程优化,医疗升级个性化方案,零售打通全链路经营。同时人机协同深化,AI解放重复劳动,人类聚焦策略创意,成为企业降本增效、创造增量价值的核心引擎。
资深SEO专家 | 20年行业经验
未来三年,AI 将彻底重构 SEO 的底层逻辑,搜索不再是 "关键词匹配" 的游戏,而是 "用户意图理解" 的竞争。以 Google MUM、百度文心一言为代表的大模型,正在让搜索引擎具备跨模态、跨领域的深度语义分析能力。这意味着,AI SEO 的核心将从 "优化页面" 转向 "构建能被 AI 识别的价值生态"—— 内容生产会更依赖 AI 辅助的 "用户需求预判",外链和权威度的评估标准也将融入 AI 对内容关联性的动态分析,传统 SEO 的 "技巧红利" 将逐渐消失,"价值红利" 成为唯一通行证。
网站优化:网站想要网站优化需要具备哪些特点呢?
优化关键词排名的实用方法
网站文章收录提升:提高网站文章收录的方法
网站优化:网站优化中如何提高用户的体验度呢?
有任何问题或需求,请填写以下表单,我们会尽快与您联系
云无限推广公司依托AI技术,为企业提供营销、运营及数据分析全场景支持,构建"AI+营销"与"AI+运营"双引擎服务模式。该模式不仅配备芯大脑舆情分析系统,更具备用户行为数据的深度挖掘与精准洞察能力,为企业决策提供数据支撑。
通过AI大模型与新媒体高效协同,可助力企业搭建"内容生产-流量捕获-商业转化"的全链路增长闭环,驱动业务持续提升。从算法策略优化到品牌声量管理,云无限推广公司始终以实战成效为导向,帮助企业在数字浪潮中把握发展机遇,强化竞争优势。
20+
行业经验
3000+
服务客户
5000+
成功案例
70+
专业团队
18810118859 / 邢经理
北京市朝阳区东四环中路39号,华业国际中心B座212室
用户1
2022/8/12 10:07:37关键词排名查询:关键词排名消失的原因有哪些